Contact Our Eductor Sales Team: 1+201-419-6111 or sales@nciweb.com

 

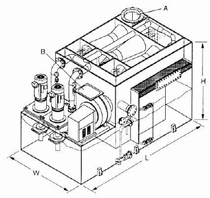
Emergency Scrubber System Type MVP Dimensions

wpe9.gif (71108 bytes)
MODEL

L

W

H

A (Inlet)

B (Outlet)

WT. LBS.*

HORSEPOWER Pump Fan

3000 VP

13’

7’

8’

18"

18"

4500

20 5

5000 VP

15’

8’

10’ 6"

24"

24"

6500

25 7.5

 

* Weight is based on an empty two-pump SW system.

Model numbers indicate the scrubber air exhaust air exhaust rate in cfm.

VP indicates a vertical sealless pump.
GET AN IDEA OF PARTICLE SIZES
 
 
 
Previous Page