Thermocompressor Sales Group Contact: 201-419-6111 Ext. 23 or sales@nciweb.com

Type 420 Jet Compressors

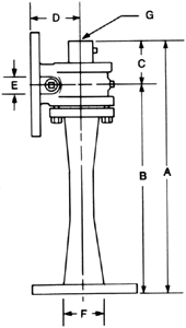
The Type 420 Compressor has no regulating spindle. The pressure connection is threaded, the suction and discharge connections are flanged, and the nozzle is threaded into the body for easy removal and maintenance. This design can be supplied in steel, stainless steel, bronze, or Haveg, an economical but highly serviceable modified epoxy resin containing silica fillers. In addition, these units can be made in any material required by the application. Standard materials are ductile iron body and diffuser with stainless steel nozzle. Flange ratings are 150 lb. and standard units have 150 psig internal design pressure.
Sizes and Dimensions - Type 420 Compressors
Size
(in Inches)
Unit Dimensions Connections Weight
(Pounds)
A B C D E F G
1 11 19/64 8 7/8 2 27/64 2 7/8 1 1 3/4 14
1 1/2 16 7/16 13 1/4 3 3/4 3 3/8 1 1/2 1 1/2 1 18
2 21 9/16 17 11/16 3 7/8 3 5/8 2 2 1 1/4 36
2 1/2 26 41/64 22 1/16 4 37/64 3 7/8 2 1/2 2 1/2 1 1/2 65
3 31 43/64 26 7/16 5 15/64 4 5/8 3 3 2 104
4 42 27/64 35 5/16 7 7/64 5 7/8 4 4 2 1/2 203
5 53 55/64 45 7/8 7 63/64 7 1/2 6 5 3 300
6 64 21/64 54 1/2 9 53/64 7 1/2 6 6 3 450
NOTE: Suction and discharge flanges are 150 lb. ANSI
Previous Page